Cookie preferences
This website uses cookies, which are necessary for the technical operation of the website and are always set. Other cookies, which increase the comfort when using this website, are used for direct advertising or to facilitate interaction with other websites and social networks, are only set with your consent.
Configuration
Technically required
These cookies are necessary for the basic functions of the shop.
"Allow all cookies" cookie
"Decline all cookies" cookie
Affiliate code
CSRF token
Cookie preferences
Currency change
Customer-specific caching
Individual prices
PayPal payments
Selected shop
Session
Comfort functions
These cookies are used to make the shopping experience even more appealing, for example for the recognition of the visitor.
Note
Statistics & Tracking
Affiliate program
Track device being used
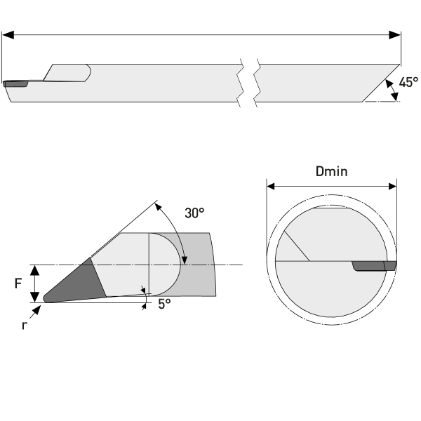
Boring Bar CVD-D Dmin 7,00
Radius: 0,40 mm | left Version
Technical details:
| Cutting material: | CVD-D |
| Version: | left |
| Dmin: | 7,00 mm |
| D2 Shank diameter: | 6h6 |
| Corner radius: | 0,40 mm |
| F: | 3,50 mm |
| L1 Total length: | 100,00 mm |
| Adjustment bevel (45°): | Yes |
| Type: | BE |
Application range:
- Acrylic (PMMA)
- Aluminum >10% Si
- Brass
- Brass lead free
- Carbide >10%Co
- Ceramics
- CFRP
- Copper
- Copper alloy
- Glass
- Glass ceramic
- Gold
- GRP
- Magnesium
- MMC
- Plastics
- Platinum
- Silver
- Titanium
- Tungsten alloy
- Zircon


